中国企业互动平台
及新兴产业数据库
Sigmastar SSU9383CM极致性价比机器人解决方案
星宸科技
视频监控芯片研发商
+关注
已关注
已点赞
点赞
转发
已收藏
收藏

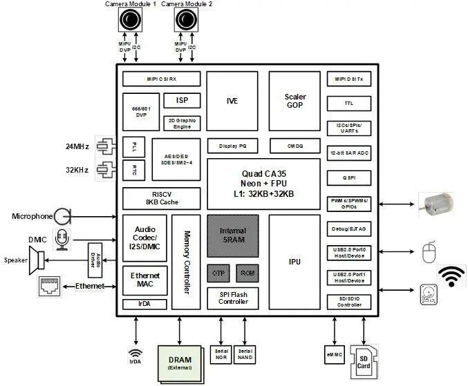
 AIOT(人工智能物联网)领域蓬勃发展的当下,芯片性能与功耗的平衡、功能的多样性与适配性成为了行业关注的焦点。作为国内领先的视频监控芯片企业星宸科技(SZ301536)凭借对市场的敏锐洞察与深耕,在与行业头部客户、开发者深入交流,充分了解市场需求与开发痛点后,重磅推出普及型算力 AIOT 芯片 ——9383CM。这款芯片在各个方面的表现堪称 一切都刚刚好,完美契合了 AIOT 市场的多样需求。

图片


一、CPU 性能与功耗:绝佳平衡,适配多元场景

9383CM 搭载 CORTEX-A35 四核处理器,无论是复杂的数据处理还是多任务运行,都能轻松应对。在保障性能的同时,该芯片在功耗控制上也表现卓越。即使在整颗芯片满负荷运行状态下,芯片整体功耗 1.3W,这样出色的功耗表现,使得芯片运行时足够冷静。在便携设备、电池供电的 AIOT 市场中,无需额外设计复杂的散热措施,不仅降低了设备开发成本,更为电池应用场景提供了可靠保障,延长了设备的续航时间,真正实现了性能与功耗的最佳平衡。


图片


坐标单位:温升( x10摄氏度),功耗(1W





二、RISCV 协处理器:强化控制,保障经济与安全

考虑到机器人、AIOT 市场中存在大量对实时性要求高、安全敏感的外设控制需求,9383CM 集成了一颗 RISCV 协处理器。该协处理器可单独运行 RTOS 系统,专门负责控制芯片上各类外设接口。值得一提的是,它与 cortex-A35 共享相同的物理内存和存储器件,这种设计不仅确保了方案的经济性,可以让客户根据使用需求在实时性RTOS系统和易于开发维护Linux下自由配置,还极大地提升了系统的安全性。其安全性已经通过IEC 60335-1 ClassB认证并获取相关证书。

三、NPU:普及算力,赋能 AI 应用

星宸科技自研 NPU 是 9383CM 的一大亮点。其具备 0.5 - 1T 不同算力型号,支持 int4/8/16 及混合整形等丰富的数据格式,能够为端侧 AI 应用加速提供有力支持。无论是视频分析、图像识别,还是音频处理等 AI 应用场景,9383CM 的 NPU 都能精准适配,快速高效地完成任务。这使得开发者能够基于该芯片轻松实现各类智能化应用与成本均衡不多也不少加速 AI 技术在物联网领域的落地与普及。


图片


四、内存与存储:灵活多样,满足不同需求

在内存及存储方面,9383CM 展现出了极高的灵活性。它支持 DDR3/DDR4 等多种频率的 DDR,并且还提供内置 DDR 的9353Q版本,特别适用于手持设备、远端机械臂等对体积要求严苛的极小体积场景,为设备的小型化设计提供了可能。在存储方面,芯片支持 NOR/NANDFLASH,同时兼容 EMMC SDIO2.0提供丰富的存储接口选择,满足了不同数据存储和传输的需求,方便开发者根据实际应用场景灵活配置。


图片



五、视频输入与外设接口:丰富全面,拓展应用边界

9383CM 的视频输入接口支持 MIPI 2Lane 接入或者两路 

推荐
来自星宸科技