
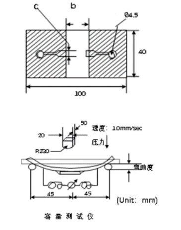
什么是软端子MLCC? 1、软端子MLCC的定义与市场需求 在电子元器件领域,多层陶瓷电容器(MLCC)被誉为“电子工业的基石”,其小型化、高容值、低ESR等特性使其广泛应用于各类电子设备。而近年来,随着5G通信、新能源汽车、工业自动化等领域的快速发展,传统MLCC在极端温度、机械振动或PCB弯曲场景下的可靠性问题逐渐凸显。软端子MLCC(Soft Termination MLCC)的诞生,为解决这一问题提供了创新方案,成为高可靠性设计的“隐形守护者”。 图1:MLCC失效比例 如图1,从统计结果可知,MLCC的失效模式中,机械应力导致的失效模式占比较高,达到大约60%比例,属于MLCC的传统痛点,改善需求较大。 图2:机械应力失效形态 如图2,机械应力失效主要为PCBA板的形变传导到MLCC端头连接处,传统MLCC硬质端头抗应力能力较弱,导致端头处陶瓷体产生裂纹,从而引起MLCC失效。软端子MLCC是一种专为解决机械应力导致失效问题而设计的电子元件,其核心在于端子的柔韧化设计。软端子MLCC通过材料与结构创新,显著提升了电子设备在严苛环境下的可靠性,在汽车和工业类应用环境中越来越多的被大家选用。 2、软端子MLCC和通用MLCC的制程差异 软端子MLCC相比通用MLCC增加了二次封端和固化的工序,该工序的功能是二次封端制作树脂端头层,然后通过低温固化树脂层,以达到在MLCC端头处增加柔性材质,完成软端子MLCC工艺制程。 3、软端子MLCC和通用MLCC的结构差异 两种MLCC端头结构对比 软端子MLCC 金属铜端头层 导电树脂固化层 镀镍阻挡层 镀锡焊接层 通用MLCC 金属铜端头层 镀镍阻挡层 镀锡焊接层 注:由内到外各层结构与材质 图3:软端子MLCC剖面结构 软端子MLCC端头为四层金属/树脂结构,包含三层硬质金属层端头以及一层软质导电树脂层端头,在PCBA弯曲、振动或产品处于温度变化环境时,抵抗环境对MLCC产生应力的能力相比通用MLCC大幅提升,可以较好的降低MLCC端头裂纹引起的绝缘电阻降低和短路的风险。 图4:通用MLCC剖面结构 通用MLCC端头为三层金属层,均为硬质金属层端头,在PCBA弯曲、振动或产品处于温度变化环境时,抵抗环境对MLCC产生应力的能力相比软端子MLCC较低,较易导致MLCC端头处产生裂纹,引发绝缘电阻降低或短路的情况。 4、软端子MLCC优势 应力吸收:柔性端头(导电树脂层)可变形缓冲,降低传递至陶瓷层的机械应力。 抗热膨胀不匹配:缓解陶瓷与PCB基材(如FR4)因CTE差异产生的热应力。 5、软端子MLCC和通用MLCC的标准差异 图5:端电极结合强度测试方法 如图5所示,端电极结合强度测试方法为将待测试样品安装在试验基板上,施加垂直方向的力,并测量电容量(测试标准:软端子MLCC弯曲度≥3mm;通用MLCC弯曲度≥1mm)。




软端子MLCC和通用MLCC对比测试 1、测试方法 将MLCC焊接在测试板上,然后将PCBA板弯曲到极限水平,弯曲速度1mm/s。 将测试后的MLCC取下,进行DPA剖面分析内部结构是否有异常。 由以上软端子MLCC产品与通用MLCC产品极限Bending测试后剖面结构情况可知:当MLCC端头受到极限机械应力作用时,软端子MLCC产品相比通用MLCC产品具有更强的抗机械应力能力,在通用MLCC产品产生机械裂纹的应力条件下软端子MLCC产品通过柔性端头释放应力,完成对陶瓷体的保护,降低了机械裂纹产生的风险。
软端子MLCC产品市场应用 宇阳科技推出车规、工业和通用等多系列软端子MLCC产品,适配多种环境需求和终端产品应用,产品封装涵盖0402~2220等多种尺寸,应用温度满足-55℃~150℃等各环境应用,电容量涵盖0.1pF~220μF等多梯度范围,详情可联系我司销售人员或技术支持人员。