中国产业数据库及企业互动平台

美国专利授权喜讯:心脏传导系统起搏技术获USPTO认可

发布者:无双医疗
时间:2025-08-13
收藏
已收藏

2025714日,美国专利商标局(USPTO)正式向我司颁发《授权通知》(Notice of Allowance),确认“Catheter and Leads for Cardiac Conduction System”专利(申请号:17/804,705)通过审查,标志着我司在心脏传导系统起搏(CSP)技术领域的创新成果获得国际权威认可。

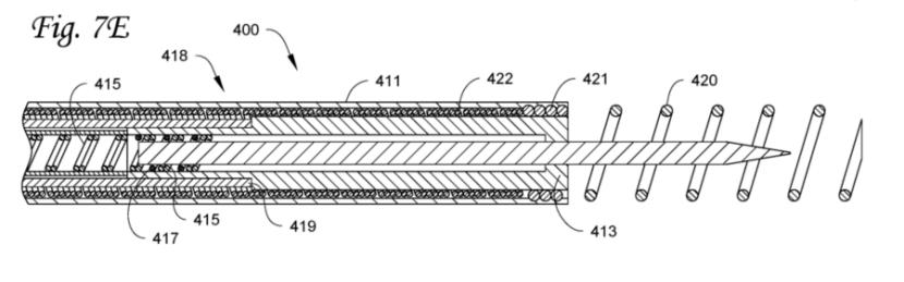
图片


革新CSP起搏电极方案  

传统心脏起搏技术(如右心室或双心室起搏)常因非生理性电信号传导,引发二尖瓣反流、心房颤动及起搏诱导性心肌病等并发症。我司核心技术优势生理性起搏,通过希氏束起搏、左/右束支起搏等创新方案,实现心脏电机械同步,降低心衰相关并发症风险,尤其适用于起搏依赖患者。

图片


(专利图1)


导线采用带芯螺旋电极、双螺旋电极及可调间隔器,可深入心室间隔精准定位传导系统关键部位(如左束支),提升起搏稳定性并降低阈值。小直径导线结合药物洗脱功能,减少心脏组织创伤及炎症反应,保障长期治疗效果。



CRTD技术的互补  

心脏再同步治疗除颤器(CRTD)是终末期心衰患者的重要治疗手段,但其传统电极导线需分别植入右心房、右心室及冠状静脉窦(左室侧静脉/侧后静脉),手术复杂度高且冠状静脉窦解剖变异可能导致左室起搏失败。我们提出的左束支起搏技术,可通过单一间隔部植入实现双心室电同步,简化手术流程;同时,生理系统电信号高效传导能够改善患者的心肌功能,由于电极植入在左右束支,对于高位的束支传导阻滞患者同样适用,有效改善心肌同步性,为不宜植入CRTD患者提供一种同步化治疗的新思路。

图片


(专利图2)



我司CSP起搏电极可兼容现有除颤器与起搏器,支持双束支同时起搏,电极结构更易深入室间隔,可提供更生理性的电信号传导路径和更高的植入安全性,为心衰治疗提供更优的器械解决方案。

这项新技术将加速我司技术在北美及全球市场的推广,助力提升心衰临床治疗水平,为全球心血管疾病患者带来新希望。我司将持续深耕心血管医疗器械创新,以专利技术为基石,推动更多突破性解决方案落地,为全球医疗健康事业贡献力量。



公司简介:

苏州无双医疗设备有限公司是一家专注于心脏节律管理(CRM)相关医疗器械研发和产业化的硬科技企业。公司总部位于苏州高新区医疗器械产业园,拥有2800平米制造厂房,在苏州、北京和美国尔湾三地设有研发中心。无双医疗从CRM领域技术难度最高的产品ICD入手,构建了完整的CRM技术平台,正在成长为中国CRM领域全线产品的供应商,能够为广大心律失常患者提供从监测、诊断、治疗到术后随访的全套解决方案。